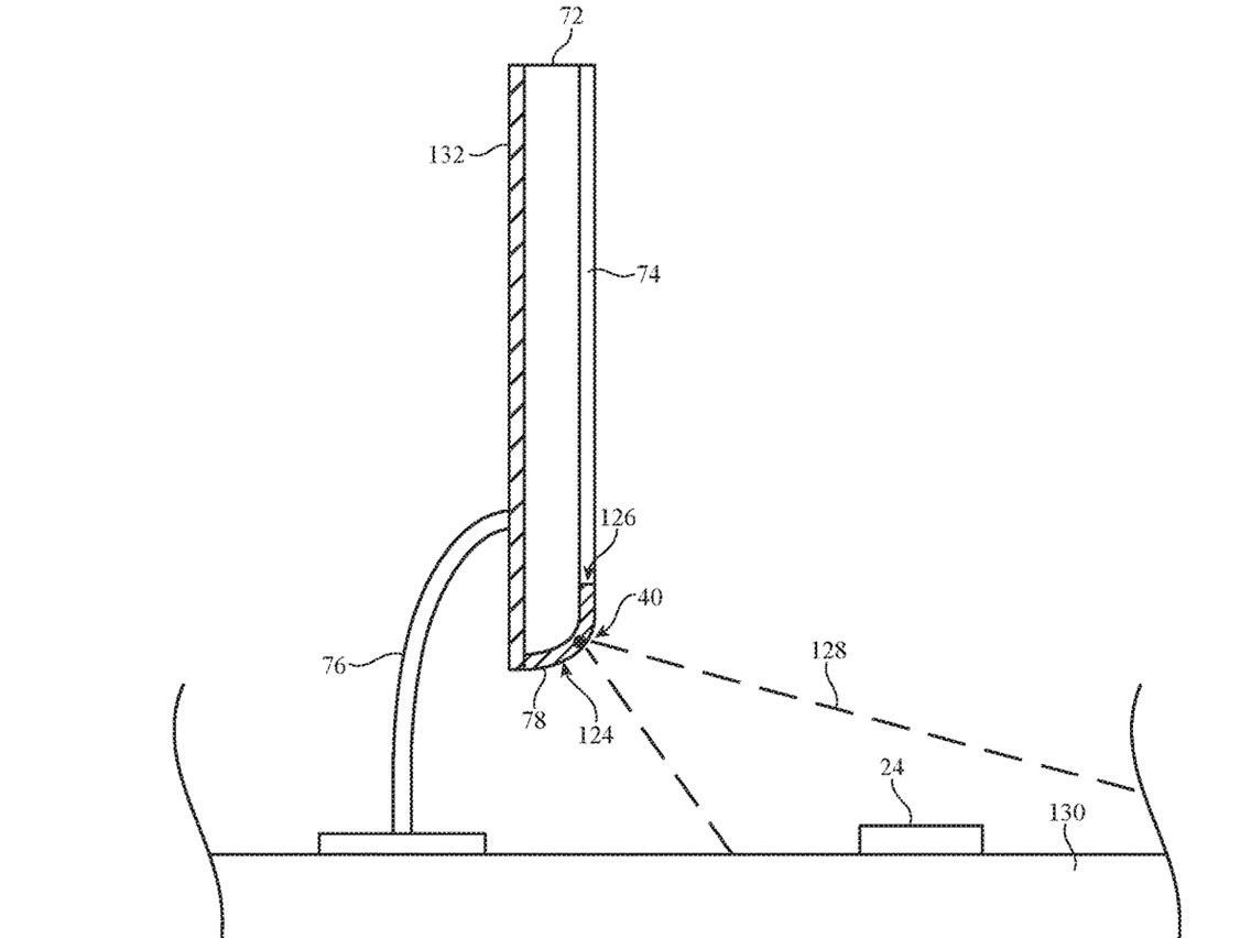
Бюро США по патентам и торговым маркам (USPTO) удовлетворило патентную заявку Apple на систему, позволяющую настольным компьютерам или внешним мониторам «по воздуху» передавать энергию соседним устройствам. Если эту технологию реализуют, например, в iMac, то пользователи вообще смогут забыть о необходимости подзаряжать близлежащую периферию вроде мышек и клавиатур.
(1).jpg)
В отличие от смартфонов, смарт-часов с беспроводной зарядкой или недавно вышедших AirPods 2, описываемая инженерами Apple технология не потребует зарядного «коврика». Энергия передается на коротком расстоянии, соприкасать устройства не нужно. В теории, пишет Apple Insider, таким же образом может быть подзаряжена и другая лежащая неподалеку электроника, такая как iPhone или те же AirPods.
Идея Apple придется по душе владельцам её же аксессуаров, в первую очередь Magic Mouse 2. У мышки зарядный порт, напомним, находится на нижней поверхности, поэтому ей нельзя пользоваться во время подключения к источнику питания.
e-mail: [email protected]
Ідеї оформлення, стиль та весь зміст сайту www.capital.ua є об'єктом авторського права та охороняються законом. Будь-яке використання матеріалів сайту допускається тільки при дотриманні правил передруку і за наявності гіперпосилання на www.capital.ua. Дозволяється використання тільки матеріалів, що знаходяться у відкритому доступі і лише за умови посилання та/або прямого відкритого для пошукових систем гіперпосилання на безпосередню адресу матеріалу на www.capital.ua www.capital.ua /a>. Посилання/гіперпосилання має бути розміщене в підзаголовку або першому абзаці матеріалу. Розмір шрифту посилання або гіперпосилання не повинен бути меншим за шрифт тексту використовуваного матеріалу. Будь-яке використання матеріалів, які знаходяться у закритому доступі та доступні лише зареєстрованим користувачам, допускається лише за попереднім письмовим дозволом правовласника. Категорично заборонено передрук, копіювання, відтворення, зміну або інше використання матеріалів, опублікованих з позначкою в рамках угоди про синдикацію з Financial Times Limited. Використання матеріалів, які містять посилання на агентства France-Presse, Reuters, Інтерфакс-Україна, Українські новини, УНІАН суворо заборонено. Матеріали, позначені знаком
публікуються на правах реклами.
Всі права захищені. © 2012 - 2023



